PLC-модем AMIS49587C5871G со скоростью передачи данных до 2400 бит/с
AMIS49587C5871G – модем для передачи информации по силовым линиям компании ON Semiconductor совместим со стандартом IEC1334. Использование модуляции S-FSK позволяет передавать данные с высокой достоверностью. Модем разработан на базе микроконтроллера с ядром ARM7. Данные передаются в режиме полудуплекса со скоростью до 2400 бит/с.

Отличительные особенности:
- работает в сетях с частотой 50 Гц или 60 Гц;
- совместим со стандартами IEC1334-5-1;
- программируемая несущая частота: 9 кГц...95 кГц;
- режим работы: полудуплекс;
- скорость передачи данных: 300, 600, 1200 или 2400 бод;
- напряжение питания: 3,3 В;
- температурный диапазон: -40°C...+85°C;
- тип корпуса: PLCC-28.
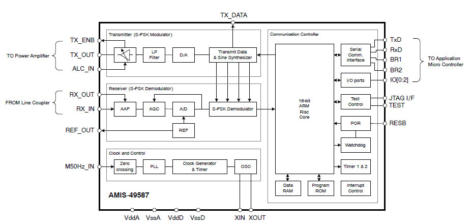
Функциональная схема AMIS49587C5871G
Области применения: системы телеметрии, системы удаленного управления, системы пожарной и охранной сигнализации.
Анонс составил и подготовил
Усанин Илья
e-mail: usanin@terraelectronica.ru
Опубликовано: 24.07.2009