Москва

+7 (495) 488-65-70

Корзина пуста
Загрузка списка товаров из файла
SALE!-10% -20% -30% -40% -50% -60%
дефицитные компоненты
Новый 100 Мбит Ethernet-контроллер ENC424J600

Новый 100 Мбит Ethernet-контроллер ENC424J600

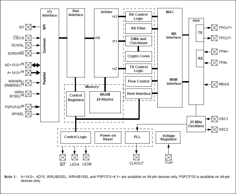
ENC424J600 – новый Ethernet-контроллер от компании Microchip. Этот Ethernet-контроллер, соответствующий нормам IEEE 802.3, представляет собой комбинацию физического интерфейса для 10/100Base-TX (PHY) и Media Access Controllerа (MAC) с криптографической Security Engine в аппаратном исполнении. Он может связываться с управляющим микроконтроллером через последовательный интерфейс SPI или гибкий параллельный интерфейс PMP.

Дополнительно каждый отдельный контроллер располагает собственным фабрично запрограммированным MAC-адресом, и имеет конфигурируемую SRAM-память 24 Кб в качестве пакетного буфера для передачи и приема, а также в качестве памяти данных. В контроллере ENC624J600 интегрирован криптографический уровень SSL в аппаратном исполнении.

Новый контроллер ENC424J600 поддерживается бесплатным TCP/IP-стеком от Microchip и, вкупе с любым из 8-ми, 16-ти и 32-битных PIC-микроконтроллеров позволяет реализовать выход в Ethernet-сеть с минимальным количеством внешних элементов.

ENC424J600

Отличительные особенности:

  • совместим с IEEE 802.3;
  • интегрированный MAC;
  • буфер 24 КБ;
  • поддерживает полнодуплексный режим;
  • интерфейс: SPI либо параллельный;
  • напряжение питания: 3...3,6 В;
  • температурный диапазон: -40°C...+ 85°С;
    тип корпуса TQFP-44.

Функциональная схема ENC424J600

Области применения: персональные компьютеры, сетевое оборудование, промышленные системы телекоммуникации, устройства с интегрированным каналом Ethernet.

Анонс составил и подготовил
Бородин Дмитрий
e-mail:
d.borodin@terraelectronica.ru

Опубликовано: 17.02.2010

  • Москва
  • Санкт-Петербург
  • Мурманск
  • Ульяновск
  • Новосибирск
  • Екатеринбург
  • Краснодар
  • Нижний Новгород
  • Воронеж
  • Уфа
  • Челябинск
  • Самара
  • Красноярск
  • Казань
  • Ростов-на-Дону
  • Саратов
  • Пермь
  • Томск
  • Иркутск
  • Омск
  • Тюмень

Актуальность предложений на товары в корзине истекла, данные были удалены 20.10.2025 в 00:00:00 (Мск.) Список позиций из корзины сохранен в Списке товаров
Актуальность предложений на товары в корзине истекла, данные были удалены 20.10.2025 в 00:00:00 (Мск.) Зарегистрируйтесь или авторизуйтесь на сайте, если регистрировались ранее, чтобы сохранять список товаров из корзины

Данный товар получен от клиентов, которые купили его для целей производства, но он оказался не востребован. Возможно отсутствие ГТД и страны происхождения.